Pfostenträger für Betonplattenecken
Verstellbarer Pfostenfuß für Betonplattenwinkel
Die Pfostenträger vom Typ PBLR wurden so konzipiert, dass sie den gesetzlichen Anforderungen hinsichtlich der Einhaltung der Abstände mechanischer Anker am Rand der Betonplatte entsprechen. Sie können wahlweise an der Ecke, am Rand oder in der Plattenmitte eingesetzt werden.
Merkmale :
Gegenstand :
- S235JR-Stahl gemäß NF EN 10025.
- Schillernde gelbe elektroverzinkte Oberfläche (ohne Chrom VI) gemäß NF EN ISO 2081.
Vorteile :
- vor Ort einstellbar,
- Den Vorschriften angepasstes Design für den Einbau in einer Deckenecke,
- Ermöglicht die Einhaltung der Abstände an den Kanten der Stollen.
Anwendungen
Unterstützung:
- Träger: Holz, Beton, Stahl.
- Porté: Massivholz, Verbundholz, Brettschichtholz.
Einsatzbereiche:
- Geländerbefestigung,
- Befestigung der inneren Barriere...
Technische Daten
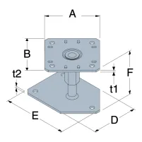
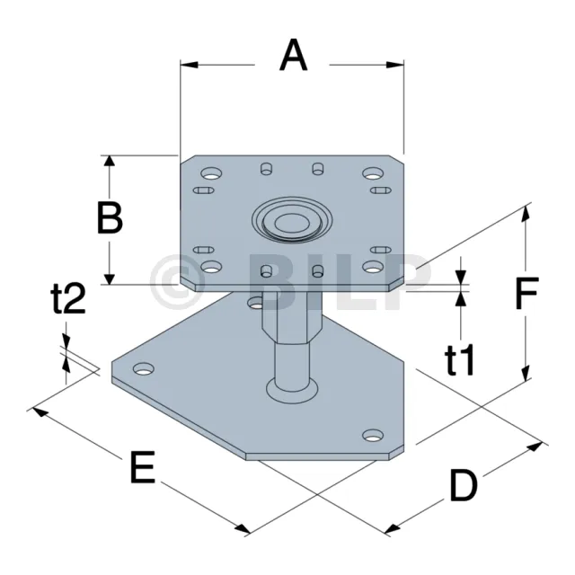
Abmessungen
| Referenzen | Abmessungen [mm] | Hohe Plattenlöcher | Niedrige Plattenlöcher | |||||||
|---|---|---|---|---|---|---|---|---|---|---|
| A | B | D | E | F | G | t | Ø6x12 | Ø12 | Ø12 | |
| PBLR | 130 | 130 | 130 | 171 | 110-150 | 20 | 5 | 8 | 4 | 3 |
Charakteristische Werte – Holz auf Beton
| Referenzen | Befestigungen | Charakteristische Werte – Holz C24 [kN] | |||
|---|---|---|---|---|---|
| Auf Post | Auf Beton | R1,k | |||
| Menge | Typ | Menge | Typ | ||
| PBLR | 4 | Ø10 | 4 | Ø10* | 51.1/kmod^0.5 |
*Informationen zur Auswahl des geeigneten Ankers finden Sie im Simpson Strong-Tie-Ankersortiment. Abhängig von der Betonart, dem Achsabstand und den Randabständen müssen Standardlösungen gewählt werden.
Vereinfachte Kennwerte – Holz auf Beton
| Referenzen | Befestigungen | Vereinfachte Kennwerte – Holz C24 [kN] | |||
|---|---|---|---|---|---|
| Auf Post | Auf Beton | R1,k** | |||
| Menge | Typ | Menge | Typ | ||
| PBLR | 4 | Ø10 | 4 | Ø10* | 61 |
*Informationen zur Auswahl des geeigneten Ankers finden Sie im Simpson Strong-Tie-Ankersortiment. Abhängig vom Untergrund (Beton, Mauerwerk etc.), dem Achsabstand und den Randabständen sind Standardlösungen auszuwählen.
**Bei den in der obigen Tabelle angegebenen Kennwerten handelt es sich um vereinfachte Werte, die auf der Annahme von Belastungsdauer und Nutzungsklasse basieren (Mittelfristige Belastungs- und Nutzungsklasse 3, kmod = 0,7 gemäß EC5 (EN1995)). Weitere Ladezeiten und Serviceklassen finden Sie unter ETE-07/0285.
SIMPSON Strong-Tie
Beispiellose Zuverlässigkeit und Service
Seit seiner Gründung in Europa im Jahr 1994 hat sich Simpson Strong-Tie dank seines anerkannten Know-hows und seiner geprüften Produktqualität zu einem zuverlässigen Wert im Bereich der Verbindungstechnik entwickelt. Dank jahrelanger Erfahrung sind Sicherheit, Zuverlässigkeit und die Einhaltung von Vorschriften eine ständige Verpflichtung.
Befestigungen
Auf Holzpfosten:
Auf Beton:
- Mechanischer Anker: Bolzen FM 753 EVO M10x78/5 oder alternativ FM-753 M10x75/5 3DG (Beschichtung für den Außenbereich geeignet),
- Chemischer Anker: Harz AT-HP + Gewindestange LMAS M10-120/25.
Einrichtung
Oberteil:
1. Legen Sie die obere Platte des Pfostenfußes unter den Pfosten.
2. Befestigen Sie diese Platte mit LAG-Zugschrauben am Pfosten (Vorbohren erforderlich).
Unterteil:
1. Positionieren Sie den Pfosten vertikal in der Struktur.
2. Identifizieren Sie die Position der Erdanker auf der Stütze.
3. Bohren Sie die Stütze vertikal auf den für die gewählten Befestigungen empfohlenen Durchmesser und die empfohlene Tiefe.
4. Befestigen Sie die untere Platte mit geeigneten Ankern am Boden.
Bemerkungen
ACHTUNG: Pfosten mit maximalem Querschnitt 200 x 200 mm.
- Die Bohrung Ø11 mm an der Spitze der Grundplatte kann für die Befestigung in der Plattenmitte verwendet werden.
- Es darf nicht am Plattenrand verwendet werden.
- Der Abstand zwischen Plattenrand und Dübel ist minimal. Es ist möglich, den Fuß nach hinten zu bewegen, um eine größere Distanz zu erreichen.






















